上海市嘉定区2023年名额分配综合评价录取名额分配到校在本区招生计划 【#高考# 导语】®第一考试网高考频道从上海市嘉定区教育局了解到,上海市嘉定区2023年名额分配综合评价录取名额分配到校在本区招生计划已公布,具体如下: 按照《上海市教育委员会关于印发的通知》(沪教委规〔2021〕2号)、《上海...
【 导语】®无忧考网高考频道从上海市嘉定区教育局了解到,上海市嘉定区2023年名额分配综合评价录取名额分配到校在本区招生计划已公布,具体如下:

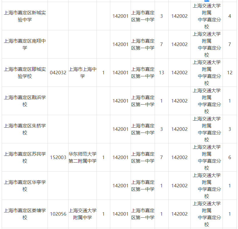
按照《上海市教育委员会关于印发的通知》(沪教委规〔2021〕2号)、《上海市教育委员会关于2023年本市高中阶段学校招生工作的若干意见》(沪教委基〔2023〕5号)要求,名额分配到校的招生计划以随机、均衡为原则,以各不选择生源初中学校符合填报名额分配到校资格学生人数占全区符合填报名额分配到校资格学生总人数的比例为测算依据,编制2023年本区高中阶段学校招生名额分配到校招生计划,具体如下:




如需了解2023年嘉定区高中阶段学校招生名额分配到区的招生计划,可点击以下网址进行查询:https://www.shmeea.edu.cn/download/20230530/105.pdf
原文标题:2023年名额分配综合评价录取名额分配到校在本区招生计划
文章来源:http://www.jiading.gov.cn/jiaoyu/publicity/zwgkbzml/zdgz/zsks/gzjysjy/164143
*本文作者,由第一考试网合作伙伴发布,转载请联系原出处。如内容、图片有任何版权问题,请联系第一考试网(diyikaoshi)处理。
推荐关注
-
十点读书
简介
关键词:
猜你喜欢
-
关于印发《会计人员继续教育专业科目指南》2023年1月1日起施行
· 1970-01-01 -
2024年安徽六安裕安区引进事业单位高层次和急需紧缺人才22人(10月8日至12日报名)
· 1970-01-01 -
2026年重庆国家公务员考试准考证打印时间及入口(2025年11月24日-30日)
-
2025下半年安徽英语四级报名入口:http://cet-bm.neea.edu.cn
-
海南:2023年普通高考填报志愿特别提醒
· 1970-01-01 -
青岛求实职业技术学院:http://www.qdqs.com
· 1970-01-01 -
他们为体制内的小职员们,办了一场“茶话会”
· 1970-01-01 -
教师个人工作总结2023(精选10篇)
· 1970-01-01 -
疯狂建设「有求必应屋」!!中国新闻史重点笔记重修好啦!!记得来看呀!!
-
2023年天津公务员考试职位表(已公布)
· 1970-01-01 -
2025年江苏淮安市淮阴区事业单位公开招聘人员30人 报名时间5月23日-27日
-
2024年广西贵港初级会计职称报名时间及入口:1月5日至26日
· 1970-01-01 -
2023年黑龙江公务员考试职位表(已公布)
· 1970-01-01 -
行测备考:判断推理找准逻辑推理题当中的破冰点
· 1970-01-01 -
2025年江西药学职称考试合格分数线公布
热 点
- 1 国考开考 报录比98:1 热门岗超6000:1
- 2 《教师生成式人工智能应用指引(第一版)》正式发布
- 3 李广慧任新乡学院院长
- 4 学历重叠是否影响考公 要看公告要求
- 5 教育部党组理论学习中心组举行集体学习会
- 6 第五届中国基础教育论坛暨中国教育学会第三十七次学术年会在四川天府新区召开
- 7 国家发改委:推动超30个“双一流”高校新校区进入大规模建设阶段,加快补齐高校学生宿舍等短板
- 8 72小时新鲜蛋,严选放心奶!北京校园餐率先“上新”
- 9 北京百万中小学生新增这门课!这所人附系学校这样做到了Next Level
- 10 南阳市二中2025年秋期高三年级期中考试表彰大会暨距离高考200天冲刺誓师大会纪实
 














